Запасные части ЧТЗ Запасные части ЧТЗ
Донецк
Например:
Актобе
Алдан
или
Выбрать автоматически
Актобе
Алдан
Алматы
Алчевск
Архангельск
Астана
Астрахань
Атырау
Баку
Балашиха
Барнаул
Белгород
Бердянск
Бишкек
Владивосток
Владикавказ
Воркута
Воронеж
Горловка
Грозный
Донецк
Екатеринбург
Иваново
Ижевск
Иркутск
Казань
Калининград
Каменск-Уральский
Караганда
Каховка
Кемерово
Киров
Комсомольск-на-Амуре
Костанай
Краснодар
Красноярск
Красный луч
Ленск
Луганск
Магадан
Магнитогорск
Макеевка
Махачкала
Мелитополь
Минск
Мирный (Якутия)
Москва
Мурманск
Нерюнгри
Нижневартовск
Нижний Новгород
Нижний Тагил
Новая каховка
Новокузнецк
Новосибирск
Новый Уренгой
Норильск
Ноябрьск
Нур-Султан
Омск
Оренбург
Ош
Павлодар
Пермь
Петрозаводск
Петропавловск
Петропавловск-Камчатский
Псков
Ростов-на-Дону
Салехард
Самара
Санкт-Петербург
Саратов
Севастополь
Семей
Симферополь
Сочи
Ставрополь
Сургут
Сыктывкар
Тараз
Ташкент
Токмак
Томск
Тында
Тюмень
Ульяновск
Усинск
Усть-Каменогорск
Уфа
Хабаровск
Ханты-Мансийск
Херсон
Челябинск
Чита
Шымкент
Экибастуз
Энергодар
Южно-Сахалинск
Якутск
Ваш город
Донецк
Войти
Запасные части к тракторам на одном сайте
Отправить заявку


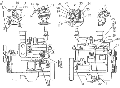
Электрооборудование дизеля с электростартерной системой пуска на Т-170


/
с НДС 20%
Описание
Электрооборудование дизеля с электростартерной системой пуска Т-170
Поз.НаименованиеАртикулКол-во в сборке
0КонтакторКТ127-Т2
0Электрооборудование дизеля50-10-641СП1
1БолтМ6Х12.58.0192
2ГайкаМ6Х6.0192
3Шайба6Т65Г092
4Панель50-10-1361
5РозеткаПС315-1002
6БолтМ8-6gХ50.58.0192
7ГайкаМ8Х6.0192
8Шайба8Т65Г092
9Шайба313862
10Провод 9250-10-282СП2
11Хомут4162710
12Прокладка700-40-265411
13Шайба31308-14
14Провод101
15Провод171
16Провод1711
17Наконечник700-40-62855
18Провод211
19Провод261
20Провод241
21Провод281
22Провод 4450-10-370СП1
23Провод 2350-10-258СП1
24КонтакторКТ127-У2
25Провод1461
26Провод491
27Провод221
28БолтМ10Х20.58.0193
29Жгут 2250-10-648СП1
30Датчик указателя температуры ТМ 100-В1
31Установка генератора50-10-374СП1
32Провод 9950-10-283СП1
33Датчик указателя давления ММ 358-УТ1
34Хомут700-41-29431
Электрооборудование дизеля с электростартерной системой пуска